Handwerkerpack ResiTHERM 12 20 St., A4








































































































































Handwerkerpack ResiTHERM 12 20 St., A4
824,60 €
Handwerkerpack ResiTHERM 12 20 St., A4
824,60 €
Sofort verfügbar, Lieferzeit: 1-3 Tage
Produktinformationen "Handwerkerpack ResiTHERM 12 20 St., A4"
• Die perfekte wärmebrückenfreie Lösung für die Montage von schweren Lasten an WDVS gedämmten Fassaden
• Geeignet für Beton, Porenbeton und Mauerwerk aus Loch- und Vollsteinen
• Vielfältige Anwendungen wie Markisen, Vordächer, franz. Balkone, Satellitenschüsseln, Klimageräte uvm.
• Hohe Anwendungsflexibilität: Ein Set für alle Dämmstoffarten und -dicken von 60–300 mm in Beton und 60–250 mm in Lochsteinen (ResiTHERM® 16), von 60–220 mm in Beton und 60–160 mm in Lochsteinen (ResiTHERM® 12)
• Zeit- und Kostenersparnis durch die einfache und schnelle Montage
• Zuverlässige, langlebige, ETA-geprüfte Befestigung
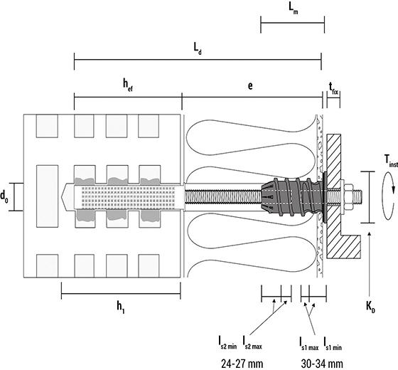
• Thermisches Trennmodul eliminiert effektiv Wärmebrücken und schützt vor Schimmel und Wärmeverlusten
• Vormontierte, witterungsbeständige EPDM Dichtung gewährleistet sichere Abdichtung gegen Schlagregen bis zu Windstärke 11 (orkanartiger Sturm) und bis zu 3 mm Verschiebung, geprüft nach DIN EN 1027
• Durch hochwertige Materialien wie glasfaserverstärktes Nylon und Edelstahl A4 kein Risiko durch Korrosion
Inhalt Set 1:
2 x ResiTHERM® 16, thermisches Trennmodul M16/M12
2 x Gewindestange M16 x 350, DIN 976, galvanisch verzinkt, Stahlqualität 8.8
2 x Gewindestift M12 x 70, DIN 913, A4
2 x Sechskant-Mutter M12, DIN 934, A4
2 x Unterlegscheibe für M12, DIN 125, A4
1 x Innensechskant-Bit, Größe 6
1 x Mischdüsenverlängerung 245 mm
2 x Kunststoff-Siebhülse SH 20 x 130 mm
1 x Montageanleitung ResiTHERM® 16
Inhalt Set 2:
20 x ResiTHERM® 16, thermisches Trennmodul M16/M12
20 x Gewindestange M16 x 350, DIN 976, galvanisch verzinkt, Stahlqualität 8.8
20 x Gewindestift M12 x 70, DIN 913, A4
20 x Sechskant-Mutter M12, DIN 934, A4
20 x Unterlegscheibe für M12, DIN 125, A4
1 x Innensechskant-Bit, Größe 6
8 x Mischdüsenverlängerung 245 mm
20 x Kunststoff-Siebhülse SH 20 x 130 mm
4 x Montageanleitung ResiTHERM® 16
Inhalt Set 3:
2 x ResiTHERM® 12, thermisches Trennmodul M12 / M12
2 x Gewindestange M12 x 260, DIN 976, galvanisch verzinkt, Stahlqualität 8.8
2 x Gewindestift M12 x 70, DIN 913, A4
2 x Sechskant-Mutter M12, DIN 934, A4
2 x Unterlegscheibe für M12, DIN 125, A4
1 x Innensechskant-Bit, Größe 6
1 x Mischdüsenverlängerung 245 mm
2 x Kunststoff-Siebhülse SH 20 x 130 mm
1 x Montageanleitung ResiTHERM® 12
Inhalt Set 4:
20 x ResiTHERM® 12, thermisches Trennmodul M12 / M12
20 x Gewindestange M12 x 260, DIN 976, galvanisch verzinkt, Stahlqualität 8.8
20 x Gewindestift M12 x 70, DIN 913, A4
20 x Sechskant-Mutter M12, DIN 934, A4
20 x Unterlegscheibe für M12, DIN 125, A4
1 x Innensechskant-Bit, Größe 6
8 x Mischdüsenverlängerung 245 mm
20 x Kunststoff-Siebhülse SH 20 x 130 mm
4 x Montageanleitung ResiTHERM® 12
Hersteller: CELO Befestigungssysteme GmbH, Industriestrasse 6, 86551 Aichach, DE, +498251904850, info@apolofixing.com
Dämmstoffdicke [mm]: Beton: 60–220 Vollstein, Porenbeton: 60–190 Lochstein: 60–160
Setinhalt:
20 x ResiTHERM® 12, thermisches Trennmodul M12 / M12
20 x Gewindestange M12 x 260, DIN 976, galvanisch verzinkt, Stahlqualität 8.8
20 x Gewindestift M12 x 70, DIN 913, A4
20 x Sechskant-Mutter M12, DIN 934, A4
20 x Unterlegscheibe für M12, DIN 125, A4
1 x Innensechskant-Bit, Größe 6
8 x Mischdüsenverlängerung 245 mm
20 x Kunststoff-Siebhülse SH 20 x 130 mm
4 x Montageanleitung ResiTHERM® 12
Ausführung: | ResiTHERM® A4 12/160 M12 |
---|---|
Länge: | 295 mm |
Anschlussgewinde: | M12 |
Material: | Edelstahl A4 |
Herstellername: | CELO Befestigungssysteme GmbH |
Markenname: | CELO |
Typ: | ResiTHERM® 12 |
WGNr.: | 290Z |
Herstellerartikelnummer: | 9X160RTH1220 |
Inhalt Set: | 4 |